Oil Circulation System (O.C.S)
Techno Drop has developed different types of oil circulating systems as per design provided by the customer's This normally contains main oil tank (reservoir), electric motors, pumps, pressure switch, float switch temperature indicator, heat exchanger, pressure gauge, flow switch strainers, duplex filter, drain valve, ball valve, healing elements and electronic control panel.
Note : Specification should be provided by customers as per their requirement.
 Oil Recirculation Systems.jpg)
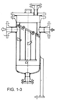
In-Line Filter (Basket Types)
Techno Drop has developed the durable basket type of in-line-filter. The body of filter made of aluminum casting and the elements of filter is made of stainless steel of 10 wire mesh having 149 u filtration. The element of filter can be re-used after cleaning. This filter is suitable for both pressure line and zero pressure line. The inlet and outlet port of this filter is available in both 1" BSP and ½" BSP. The drain port ¼" BSP has also been provided for drain out the dirty oil from filter body. The main advantage of this in-line filter is that the element of filter can be cleaned without disturbing the pipe line. This filter is suitable for flow up to 200 LPM. The element and body of filter is suitable for mineral / petroleum based oils. Separate element of this filter is also available. Port for installation of visual indicator has also been provided at the top cover and pull the basket of filter in the download direction, then open the element of filter with the help of spanner.
Note: Different filtration rating or micron size of element can be provided as per customer's requirement with additional cost.
.jpg)